新服办官方版App是专为政务服务打造的移动办公平台,集政策发布、事项办理、政企互动于一体,助力企业高效对接政府资源,实现审批、申报、咨询一站式服务。告别繁琐流程,随时随地掌握最新政策动态与办理进度,让政企协作更简单、更透明。立即下载,开启智能政务新时代!
新服办App功能介绍
1、首页
在首页,用户可以快速点击常见热门办事功能模块,包括社保、医保、公积金等。

2、办事
更加详细划分的事务种类,还有各种不同分类。

3、12345
便民服务热线,倾听收集每一位民众的反馈。

4、我的
在这里用户可以查看自己办过那些事、投诉的进度、预约详情等。

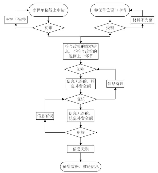
新服办App社会保险费断缴补缴申报流程
职工社会保险费断缴补缴申报流程图:

软件亮点
1. 政策速递精准触达:权威发布省市级新政动态,智能标签分类推送,关键信息一目了然,避免错过申报窗口期。
2. 智能审批秒级出件:支持全流程线上提交与AI预审,常态化事项平均处理时长压缩至30分钟,效率提升看得见。
3. 企业专属服务空间:整合工商、税务、社保等高频事项,定制化工作台+专属顾问提醒,个性化服务贴心直达。
4. 政企直连双向互通:一键预约线上会办,实时反馈办理进度,政府与企业消息直达闭环,沟通零延迟。
5. 数据安全多重加密:采用国密算法+动态权限管控,企业敏感资料上传即享银行级防护,安心无忧使用。
6. 无障碍适配全龄通办:界面极简适老设计,支持语音导航与字体放大,长者与新市民轻松上手无门槛。
软件功能
1. 在线申办智能填表:集成200+高频政务事项表单,智能识别企业类型自动填充字段,支持拍照上传证照,3步完成申报,减少80%重复录入。
2. 进度追踪实时提醒:全流程可视化节点监控,审批状态变更即时推送短信+站内通知,关键环节自动预警,避免延误。
3. 电子签章云上加盖:对接政务区块链系统,支持在线签署批复文件与加盖电子公章,生成PDF即具法律效力,节省跑腿盖章成本。
4. 智能客服7×24小时应答:内置政务知识图谱,AI秒答常见咨询(如补贴标准、材料清单),复杂问题转接人工坐席快速响应。
5. 企业画像精准画像推荐:基于注册信息与发展阶段智能匹配适用政策,自动推送“免申即享”福利清单,助企业及时享受红利。
6. 工作台自定义快捷入口:支持按行业、按职能配置个人工作台,快速跳转高频功能(如税务开票、环评申报),操作效率提升三倍。
软件优势
1. 权威首发唯一官方渠道:由省级新服办官方运营发布数据,确保政策解读与申报入口100%准确,杜绝第三方信息滞后风险。
2. 跨部门协同一次办成:打通发改、工信、人社等多部门系统后台,实现“材料一次提交、流程并联审批”,推动“最多跑一次”向“一次不用跑”升级。
3. 政企数据双向赋能:企业填报数据自动归集至政务数据库用于政策优化,同时反哺企业信用画像,助力融资授信与招投标加分项获取。
4. 区域特务一键直达:覆盖各地特色产业扶持模块(如跨境电商专项补贴、专精特新绿色通道),本地化服务精准触达,避免“一刀切”困扰。
5. 容错机制贴心护航企业:对非主观恶意材料瑕疵提供“补正提醒+容缺受理”双通道,首次申报错误可获智能修正建议,降低合规成本。
6. 零广告纯净使用体验:无商业推广、无弹窗干扰,所有界面聚焦政务服务场景,打造专业、清爽、高信任度的政企服务平台环境。
想了解更多精彩内容,好用软件、好玩的游戏,请关注沃德下载站!
下载声明
此应用作品版权归属为原作者享有,应用信息来源于各大手机应用市场,请选择对应的应用市场进行下载。如此APP侵犯了您的版权,请提供相应的APP资质,以邮件的形式联系本站,本站将积极配合处理。